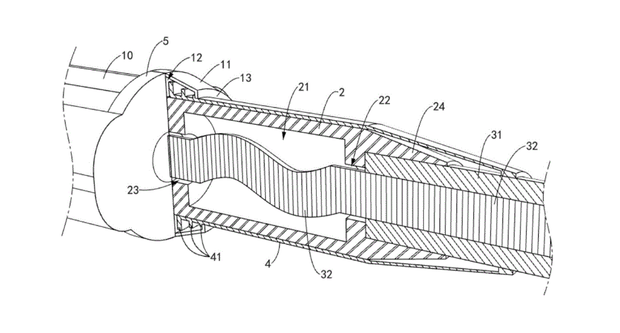
步步精科技:信號連接器領域的技術創新與發展
深圳市步步精科技有限公司近日喜獲一項發明專利授權,進一步鞏固了其在連接器技術領域的領先地位。本次獲得授權的專利是“信號連接器”,其創新性和實用性為步步精科技在信號傳輸設備的研發和制造中注入了全新動力。
更多
2024慕尼黑華南電子展圓滿結束,步步精科技成就斐然
2024年10月14日至16日,2024慕尼黑華南電子展成功落幕。步步精科技(以下簡稱“步步精”)在本次展會上取得了圓滿成功。作為一家以技術驅動的連接器制造商,步步精憑借創新的產品和技術方案吸引了廣泛
更多
步步精科技攜高端產品亮相2024慕尼黑華南電子展,誠邀參與
我們誠摯地邀請您參加即將于2024年10月14日至10月16日在深圳國際會展中心(寶安新館)舉辦的慕尼黑華南電子展(electronica South China)。本屆將聚焦人工智能、數據中心、新型
更多
深圳連接器展圓滿落幕,步步精科技展現技術實力
2024年8月28日至30日,深圳國際連接器、線纜線束及加工設備展成功落幕。步步精科技(以下簡稱“步步精”)在本次展會上取得了顯著的進展,作為連接器行業的重要制造商,步步精以其創新的產品和技術方案吸引
更多
深圳市步步精科技有限公司成功獲得插頭結構及電連接器發明專利
2024年8月20日,深圳市步步精科技有限公司(以下簡稱“步步精”)喜訊傳來,公司申請的“插頭結構和電連接器”專利(授權公告號CN 118399121 B)正式獲得授權。這項創新的插頭結構在數據線連接
更多
深圳市步步精科技有限公司榮獲發明專利,彰顯技術研發實力
2024年8月13日,深圳市步步精科技有限公司(BBJconn)正式獲得了其新開發的防水連接器專利,授權公告號為CN 118352837 B。這項技術的突破標志著公司在連接器領域的持續創新,進一步鞏固
更多








