深圳市步步精科技有限公司榮獲發明專利,彰顯技術研發實力
2024年8月13日,深圳市步步精科技有限公司(BBJconn)正式獲得了其新開發的防水連接器專利,授權公告號為CN 118352837 B。這項技術的突破標志著公司在連接器領域的持續創新,進一步鞏固了其行業領先地位。
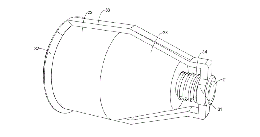
專利技術概述
此次專利涉及一種新型防水連接器,主要由連接器主體、兩螺紋套和第一密封圈構成。其設計精妙,連接器主體兩端分別設有接口,網線接頭可以輕松插入。同時,連接器主體外側設有螺紋,確保螺紋套的牢固連接。這一設計不僅提升了連接的防水性能,還使得拆裝過程變得更加便捷。特別是密封環的設置,能有效防止水分侵入,確保在各種惡劣環境下的穩定性能。

研發實力的體現
步步精科技始終將技術研發視為公司發展的核心驅動力。目前,公司已擁有132項技術專利,另有20多項專利正在測試中。這些成就不僅體現了公司在技術創新上的不斷追求,也展示了其強大的研發團隊和市場洞察力。

公司在防水連接器領域的探索與實踐,正是其技術實力的最佳證明。步步精科技深知,創新是企業發展的生命線,在未來的發展中,公司將繼續加大研發投入,進一步深耕技術領域,為行業進步貢獻自己的力量。
展望未來
展望未來,深圳市步步精科技有限公司將一如既往地堅持技術創新,以滿足市場日益增長的需求。公司計劃在防水連接器及其他領域推出更多創新產品,進一步提升行業標準。


通過不斷的努力與進取,步步精科技不僅將為客戶提供更優質的產品和服務,同時也將推動整個連接器行業的發展,助力科技進步與社會發展。
此次發明專利的獲得,無疑為步步精科技的發展注入了新的動力。隨著技術的不斷成熟與市場的不斷擴大,步步精科技定將譜寫出更加輝煌的篇章。



